欢迎来到潇湘科技要素大市场怀化分市场
 您当前位置:技术交易 > 

一种公路桥梁热力管道防冰系统控制装置及控制方法


行业类别:安全生产技术及产品
所处阶段:研究阶段
持有单位:湖南科技大学
转让方式:技术转让,技术许可,
转让价格:面议

成果信息

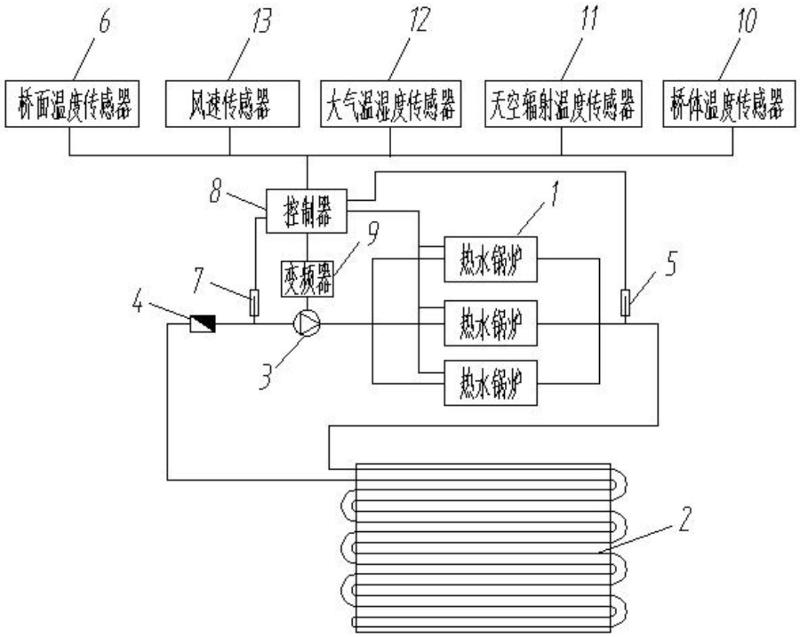
本发明为热力管道防冰系统提供了一种控制装置及控制方法,能实现节能降耗、防冰效果好、自动控制运行的目的。)

背景介绍

每到冬季,我国大部分地区会出现冰冻、雨雪天气,高速公路上的桥梁、隧道口等局部区域由于其环境特殊,结冰现象会更加严重,此时行驶在此种路面上的汽车容易因车轮打滑而造成严重的交通安全事故。传统的除冰雪方法主要包括机械除冰法、传统融雪剂除冰法和电缆加热除冰法以及热力管道防冰法。 机械除冰法虽然具有效力高、机动性强的优点,但机械成本高,由于需要人工操作在恶劣气象条件下,存在较大的安全隐患,工作时需要封闭公路影响交通,对路面有巨大的损伤并且除冰不及时。传统融雪剂除冰会加快路面破损,降低路面的使用寿命。 电缆加热除冰法是近年出现的一种在道路面层和基层之间加铺电加热装置,通过调整工作电压或电流达到电加热装置发热的目的而实现除冰。此种方法存在安装和后期维护不便、工作能耗过高等缺点。 热力管道防冰法是通过在桥面下层设置热力管道,通过锅炉等热源加热溶液,在桥体的铺面层下循环,使桥面升温从而防止结冰的一种技术。但桥面融防冰系统总体负荷很大,现有技术存在加热不及时或停止时间不恰当等原因,造成能耗过大,桥面过热且有时反应不及时导致路面结冰或起不到防冰效果等缺点。)

应用前景

/)