欢迎来到潇湘科技要素大市场怀化分市场
 您当前位置:技术交易 > 

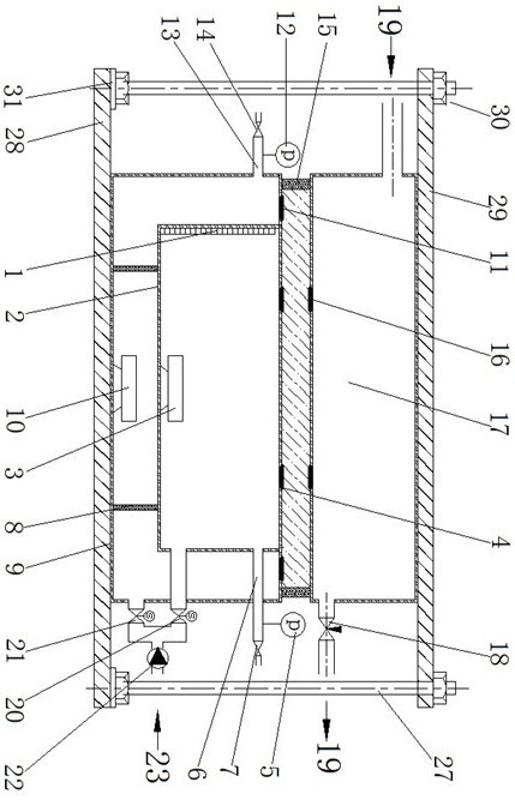
一种基于饱和蒸汽加热的高精度平板法热导率测定装置


行业类别:高性能、智能化仪器仪表
所处阶段:研究阶段
持有单位:湘潭大学
转让方式:技术转让,技术许可,
转让价格:面议

成果信息

本发明提供了一种基于饱和蒸汽加热的高精度平板法热导率测定装置,能很好解决现有技术中被测试件热面温度均匀性及侧面的高效绝热性问题,并能很好保证主加热器发热量全部通过被测试件。)

背景介绍

于稳态法的优点,现已广泛用于耐火、保温材料热导率测量,然而现有的稳态法测量结果不能满足较高精度测定需要。稳态法精度主要由被测试件热量的计量精度、热面与冷面温度的均匀性、侧面的绝热性确定。现有的稳态法专利技术,如CN201510933695.3等,是通过在被测试件侧面施加等温面的绝热方法来解决侧面绝热问题,然而在实际实施时并未形成严格的等温面,侧面绝热问题并未得到很好的解决;同时,现有专利技术也未能严格的解决被测试件热面和冷面的均热性问题,加之薄膜热电偶测量试样热面、冷面温度时,因受接触热阻影响,测温可靠性和准确性受到一定的影响。受以上几个因素的复合影响,现有的稳态法热导率测量技术,不能满足热导热率的高精度测量需要。设法提高试样冷、热面温度均匀性、试件侧面的绝热性,并提高试件热面、冷面测温的可靠性,是进一步提高稳态法测量精度必须解决的问题。)

应用前景

/)