欢迎来到潇湘科技要素大市场怀化分市场
 您当前位置:技术交易 > 

车辆传动系统安全服役与智能装调


行业类别:智能交通产品
所处阶段:研究阶段
持有单位:湘潭大学
转让方式:技术转让,技术许可,
转让价格:面议

成果信息

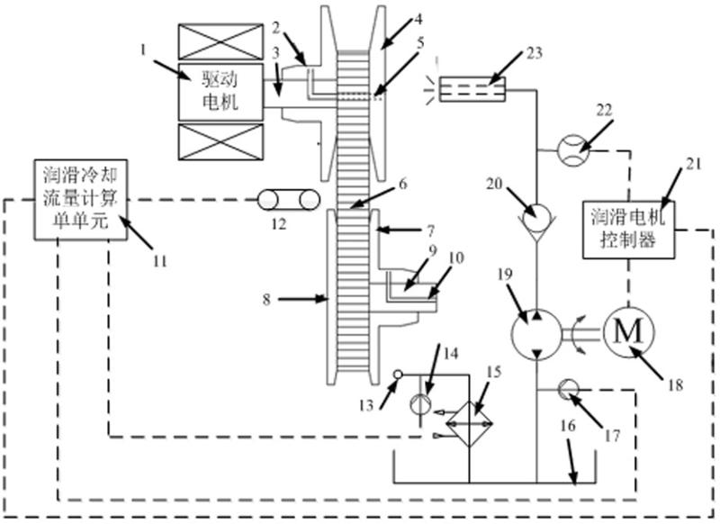
湘潭大学在消化吸收自动变速器技术的同时进行了大量的研发工作,在节能降耗方面取得了系列成果,涉及扁平液力变矩器技术、节能型电液控制技术等多个方面,同时关注产品可靠性的提升,通过可靠性补偿控制技术、机械结构改进和装配一致性保障技术的应用大幅提高了恶劣工况下离合器的可靠性。)

背景介绍

随着我国汽车保有量和自动挡汽车比例的不断升高,自动变速器的市场需求非常广阔;高传动效率是汽车自动变速器的主要发展趋势,轻量化、小尺寸、低换挡时间等技术措施不可避免带来可靠性隐患。)

应用前景

/)