欢迎来到潇湘科技要素大市场怀化分市场
 您当前位置:技术交易 > 

垃圾处理设备


行业类别:固体废弃物的处理与综合利用技术
所处阶段:研究阶段
持有单位:深圳市格瑞汉兰科技有限公司
转让方式:技术许可,
转让价格:面议

成果信息

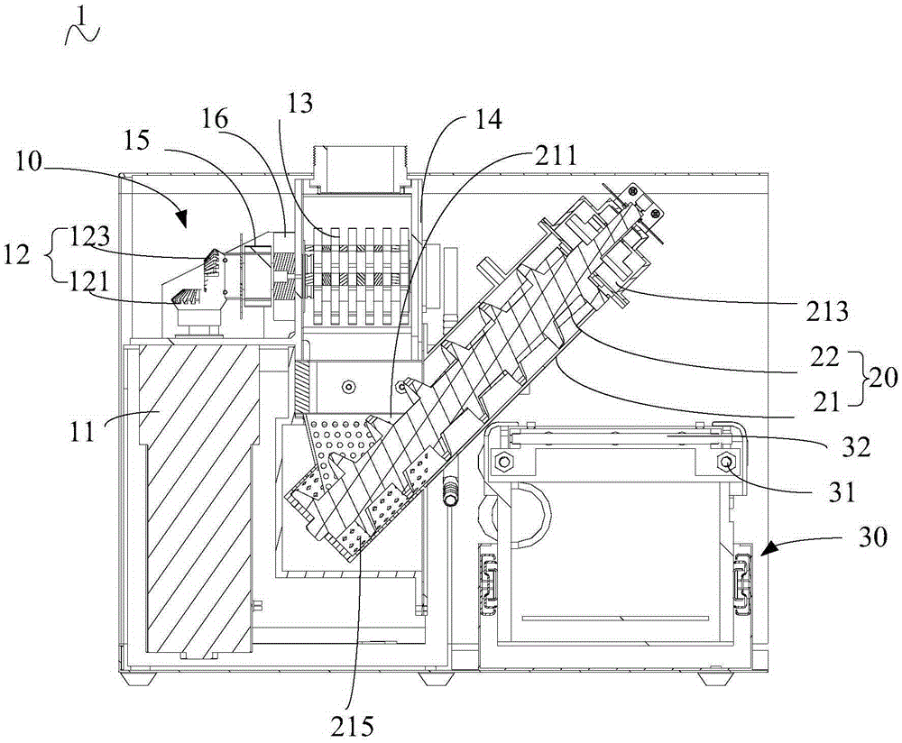
本实用新型用于机械技术领域,提供了一种垃圾处理设备,其包括破碎装置和螺旋杆脱水输送装置。破碎装置用于对垃圾进行破碎,螺旋杆脱水输送装置对经破碎装置破碎的垃圾进行挤压和输送,所述螺旋杆脱水输送装置包括料筒、设置于所述料筒内的螺旋杆,所述料筒具有进料口和出料口,所述进料口与所述破碎装置相连通,所述螺旋杆脱水输送装置倾斜设置,所述螺旋杆与所述料筒之间的空间沿所述进料口方向向所述出料口方向逐渐减小。上述垃圾处理设备,螺旋杆与料筒之间的空间沿进料口向出料口方向逐渐减小,从而对破碎的垃圾产生挤压;通过倾斜设置螺旋杆脱水输送装置,在重力的作用下螺旋杆挤压产生的水被排走;脱水效率高。)

背景介绍

待添加)

应用前景

垃圾预处理装置,所述垃圾预处理装置用于将垃圾进行预处理;垃圾脱水装置,所述垃圾脱水装置与所述垃圾预处理装置连接,经所述垃圾预处理装置预处理后的垃圾进入所述垃圾脱水装置,所述垃圾脱水装置用以将所述预处理后的垃圾进行脱水;以及排放处理装置,其包括干垃圾处理模块以及水处理模块,所述干垃圾处理模块以及水处理模块分别与所述垃圾脱水装置连接。)